Absorbergummis am Zylinder

Drosseln - entdrosseln und was in die anderen Motorkategorien nicht passt
Antworten
Benutzeravatar
Stuecki
Beiträge: 825
meble kuchenne Ruda Śląska Rybnik Tychy
Registriert: Mo 28. Okt 2019, 20:02
Wohnort: Steiermark (Österreich)

Absorbergummis am Zylinder

Beitrag von Stuecki »

Servus allerseits :)

Mal eine vlcht kleinliche Frage aber das hat mich schon immer interessiert:

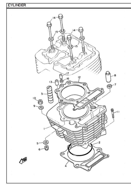
Bei meiner DJ02 sind außen am Zylinder zwischen den Kühlrippen so Gummi-Absorber angebracht.
Wenn man sich so durch die Ersatzteilkataloge durchklickt haben das alle Modelle, auch ganz alte schon.
Die Dinger sind einfach nur reingesteckt zwischen die Kühlrippen so wie ich das sehe.

Meines Wissens dienen die der Akustik, sollen also Geräusche,, die durch Schwingen der Kühlrippen entstehen könnten, dämpfen / unterbinden.

Bei mir sind die allesamt veraltet, hart, spröde, an manchen Stellen fehlen schon zwischendrin einige, sie nerven beim Putzen der Kühlrippen (ja das mach ich auch ab und zu :lol: ) ...

Wie seht ihr das: Gibts noch eine andere Funktion der Dinger die jemandem spontan einfällt ? Habt ihr die alle noch dran oder schmeißt die eh jeder raus / verliert die ?


Unbenannt.JPG


Nummer 3 in der Explosionszeichnung :)
Grüße, Stücki :!:
aus: Steiermark, Österreich

Motorräder:
  • Yamaha XT 600E DJ02 (BJ 1999)
  • Kawasaki ZX-6R 636 Ninja (BJ 2003)
  • Kawasaki ZX-6R Ninja (BJ 1996)
  • Daelim Otello SG125F (BJ 2005)
  • Sym Maxsym TL 500 (BJ 2020)

Benutzeravatar
Maybach
Beiträge: 1084
Registriert: So 14. Okt 2012, 12:24

Re: Absorbergummis am Zylinder

Beitrag von Maybach »

Servus Stuecki,

die dienen nur der Unterdrückung des Schirrens der Kühlrippen.
Und bei meiner Bj. 1998-TTE sind noch alle drin.

Wenn die ersetzt werden müssen, dann auch nicht durch die teuren Originale, sondern da kaufe ich mir ein passendes Stück Gummileiste in rund und schneide mir die zu.

Maybach

Benutzeravatar
Stuecki
Beiträge: 825
Registriert: Mo 28. Okt 2019, 20:02
Wohnort: Steiermark (Österreich)

Re: Absorbergummis am Zylinder

Beitrag von Stuecki »

Ok also Funktion wie ich vermutet habe :)

Sie zu ersetzen wäre ja kein Problem, Zuschneiden ist ne gute Idee, wobei die gibts bei Kedo auch um 4 € pro 6er Riegel, das tut finanziell auch nicht gerade weh ;)

Wollte nur wissen ob die auch schon mal wer ganz weggelassen hat zum Beispiel und das dann auch tatsächlich zu hören war.
Aber gut Yamaha wird sich schon was dabei gedacht haben warum die über Jahrzehnte (XT500 hatte die auch schon) verbaut waren :)
Grüße, Stücki :!:
aus: Steiermark, Österreich

Motorräder:
  • Yamaha XT 600E DJ02 (BJ 1999)
  • Kawasaki ZX-6R 636 Ninja (BJ 2003)
  • Kawasaki ZX-6R Ninja (BJ 1996)
  • Daelim Otello SG125F (BJ 2005)
  • Sym Maxsym TL 500 (BJ 2020)

Benutzeravatar
XTsucher
Beiträge: 1516
Registriert: Do 9. Jan 2014, 16:29
Wohnort: Kreis Karlsruhe

Re: Absorbergummis am Zylinder

Beitrag von XTsucher »

Die Dinger waren das erste was ich bei der Renovierung weggeschmissen habe - und sind nicht ersetzt worden.
Ob das jetzt lauter ist? Keine Ahnung.
Grüße, Frederik - der 1VJ fährt.
Original ist schön und gut - ich fahre lieber
53.764 km
Projekt 2026: MEHR FAHREN! FAHREN! FAHREN!

Benutzeravatar
Stuecki
Beiträge: 825
Registriert: Mo 28. Okt 2019, 20:02
Wohnort: Steiermark (Österreich)

Re: Absorbergummis am Zylinder

Beitrag von Stuecki »

Also kann man davon ausgehen, dass es nicht so arg viel lauter ist, dass das dann iwie störend wäre.
Lautstärke stört mich grundsätzlich schon mal nicht, dachte halt es könnte ein unerträglich helles klirrendes Geräusch sein oder so iwas :mrgreen: ...

Vlcht unternehme ich einfach den Versuch mal mit Gummis, direkt danach ohne und gucke ob das was ausmacht :)
Grüße, Stücki :!:
aus: Steiermark, Österreich

Motorräder:
  • Yamaha XT 600E DJ02 (BJ 1999)
  • Kawasaki ZX-6R 636 Ninja (BJ 2003)
  • Kawasaki ZX-6R Ninja (BJ 1996)
  • Daelim Otello SG125F (BJ 2005)
  • Sym Maxsym TL 500 (BJ 2020)

Antworten