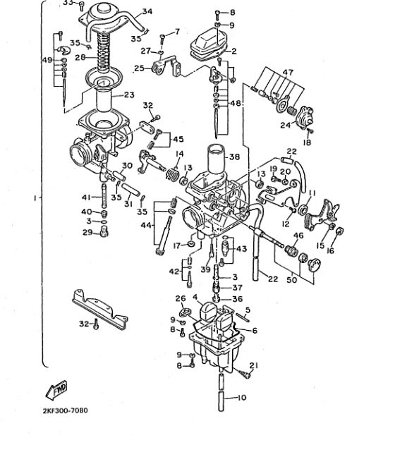
mir ist nun zum 2. Mal in 2 Jahren dieser kleine Verbindungsschlauch zwischen den beiden Vergaserstufen kaputt gegangen, der ist ca. 3-4 cm lang.
Ich hatte zum Glück noch einen kleines Stück 4/ 8 mm Benzinschlauch liegen
ich habe in Erinnerung dass es da Material geben soll, das länger/ besser halten soll ?
habe gelesen, dass PVC oder auch PU Schläuche auch funktionieren ?
4/ 8 mm ist evtl. auch etwas breit im Aussendurchm. da der Schlauch in einem 90° Winkel verlegt wird
Ich habe nun etwas gesucht bei Kedo, Amazon, ebay ..aber irgendwie nix richtiges gefunden, und wenn dann nur 4/8mm
Hat jemand eine Empfehlung für mich für diesen Schlauch ?
solte man vmtl. auch immer ein kleines Stück dabei haben...

Danke
Peter